姚振华及宝能等新增被执行人信息,累计被执行总金额超470亿元
2024-05-23 12:20:00
来源:澎湃新闻
5月23日,澎湃新闻记者查询天眼查信息看到,5月22日,姚振华、深圳市宝能投资集团有限公司、宝能地产股份有限公司、深圳深业物流集团股份有限公司等新增2则被执行人信息,执行标的合计22.88亿元,执行法院均为广东省深圳市中级人民法院。
5月以来,姚振华、深圳市宝能投资集团有限公司、宝能地产股份有限公司、深圳深业物流集团股份有限公司等已增加9则被执行人信息,执行标的合计27亿余元。

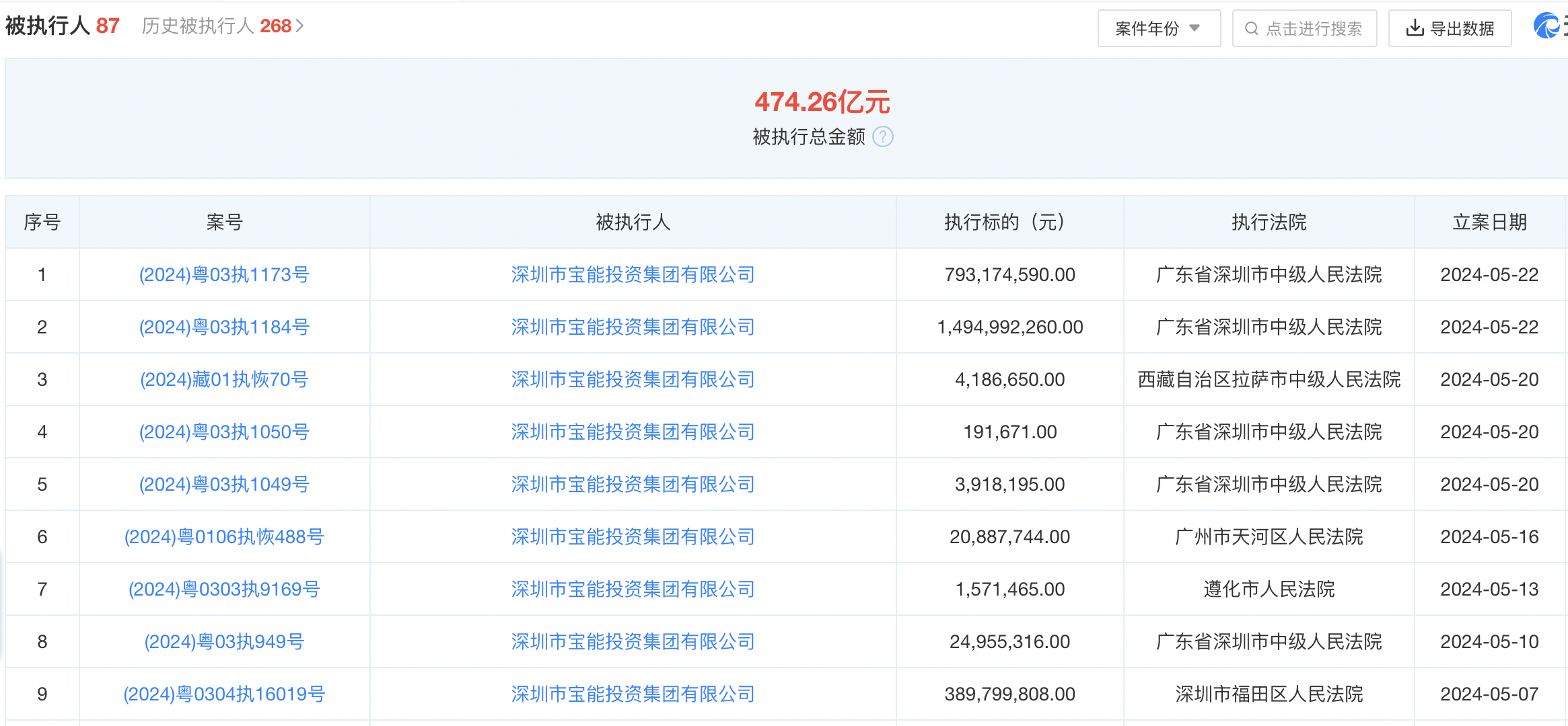
天眼风险信息显示,深圳市宝能投资集团有限公司现存87条被执行人信息,被执行总金额474.26亿元。此外,该公司2023年至今已有92条限制消费令;存在27条终本案件信息,执行标的的总金额105.12亿元,其中未履行总金额达到99.98亿元。2022年和2023年失信被执行人(老赖)共40条,全部未履行。